믿음직한 기술로 미래를 만들다
혁신과 전문 기술이 어우러진 창조적 파트너십 한국지반연구소
GPR탐사

GPR탐사

  • 차량형 3D GPR탐사
    • 차량형 3D GPR 탐사는 멀티채널 안테나를 이용하여 넓은 범위의 3차원 GRP신호 획득
    • 고정밀 RTK 안테나를 이용하여 지반이상대(공동 및 지장물 등)의 정확한 위치확인 가능
    차량형 3DGPR 탐사 전경
    3D GPR 해석 결과
    핸디형 3D GPR탐사
    • 핸디형 3D GPR탐사는 멀티채널 안테나를 이용하여 정밀한 범위의 3차원 GPR신호 획득
    • 고정밀 RTK안테나를 이용하여 지반이상대(공동 및 지장물 등)의 정확한 위치확인 가능
    핸디형 3DGPR 탐사 전경
    3D GPR 해석 결과
    2D GPR탐사
    • 천부지층에 대한 지반상태 및 지질정보를 얻기 위해 수행되며, 주로 지층의 구성상태, 지질구조대 파악 및 천부 지반 내의 지장물 및 공동 분포 여부 등 파악
    GPR 탐사 모식도
    GPR 탐사 결과
    GPR 탐사 결과
    터널 GPR탐사
    • 터널 천단부에 GPR탐사를 실시하여, 터널의 안정성에 영향을 미치는 콘크리트 라이닝의 두께 및 공동유무 파악에 그 목적이 있음
    터널GPR 탐사 모식도
    터널GPR 탐사 현장사진
    배수문 GPR 탐사
    • 배수문 내부(바닥, 천단, 벽체)에 GPR탐사를 실시하여, 배수구조물의 안정성에 영향을 미치는 특이사항 파악에 그 목적이 있음
    • 철근간격, 슬라브 두께 등 배수문 내부 파악 가능
    배수문 GPR탐사 현장사진
    벽체 GPR탐사 결과
    벽체 철근 배근 GPR탐사
    • 격자형으로 탐사를 수행하여 벽체 내부의 3차원 모델링 구축
    • 철근간격, 슬라브 두께 등 벽체 내부 파악 가능
    벽체 GPR탐사 결과
    벽체 GPR탐사 결과
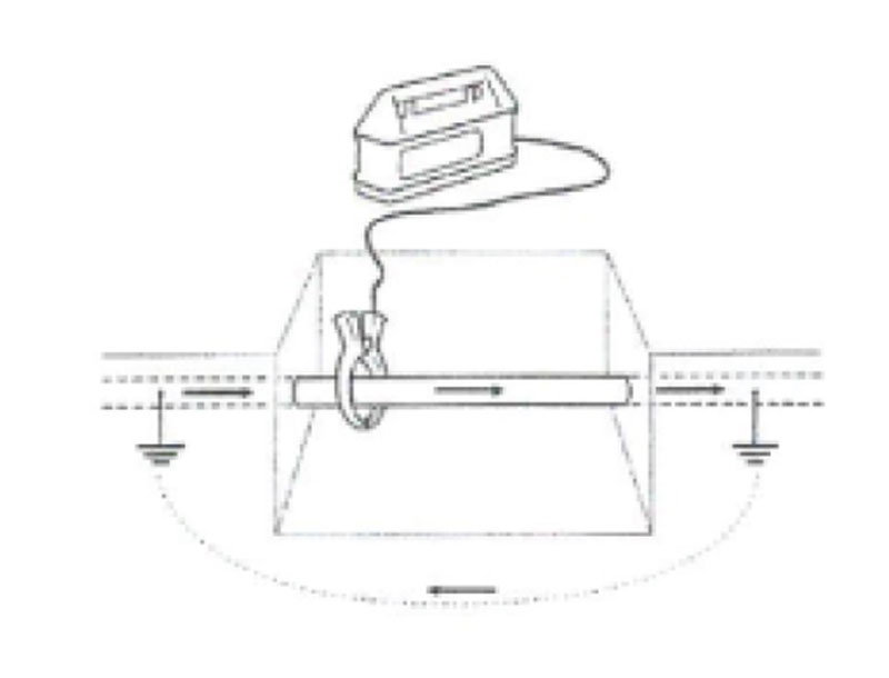
    전자유도(RD)탐사
    • 지하매설물에 전류를 흘리고 지하매설물을 중심으로 발생되는 동심원상의 자장을 측정하여 심도 파악
    RD탐사 모식도
    RD탐사 모식도
    RD탐사 전경
    CCTV 조사
    • 원격조종이 가능한 조사로봇을 관내에 투입하여 실시간으로 관의 이상우뮤, 현황 및 실태 파악
    CCTV조사 결과 영상
    PIPEGPR 탐사 영상
    드론 라이다 영상
    지하시설물 Mapping
    • 지장물 위치 및 심도를 파악하여, 지하공간통합지도를 제작하여, 부지 내 참고자료에 활용
    GPR탐사를 통한 지하매설물도 결과
    GPR탐사를 활용한 지하공간지도
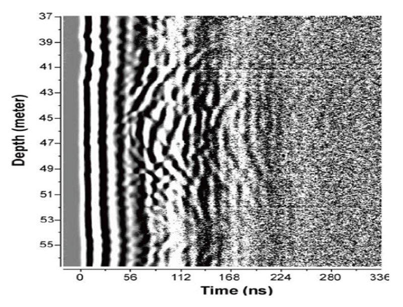
    시추공 레이다 반사법 탐사
    • 시추공 레이다 반사법 탐사는 시추공에 위치한 안테나에서 반사되는 전기기파를 측정하여 시추공 주변 암반의 균열대, 암맥 또는 지하공동의 영상을 뚜렷하게 영상화
    시추공 레이다 반사법 탐사 모식도
    시추공레이다반사법 탐사결과
    레이다 토모그래피 탐사
    • 레이다 토모그래피 탐사는 지반의 연약대, 공동 및 누수대 등을 정밀조사하기 위한 목적으로 주로 사용되며, 탐사를 두 시추공 사이의 전자파 속도, 전기전도도, 공극률, 함수율 분포에 관한 영상 획득
    레이다 토모그래피 탐사 모식도
    레이다 토모그래피 탐사 결과

브라우저 최상단으로 이동합니다