믿음직한 기술로 미래를 만들다
혁신과 전문 기술이 어우러진 창조적 파트너십 한국지반연구소
수리시험

수리시험

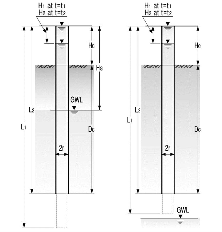
  • 현장투수시험
    • 시추공 내 시험구간을 정하여 시간에 따른 수위하강을 측정하여 대상 지층의 수리특성을 규명, 지반의 투수계수 산정
    현장투수시험 전경
    현장투수시험 모식도
    현장투수시험 결과
    암반수압시험
    • 수압을 이용하여 시추공에 5〜9단계 압력으로 주수 후 주입수량을 측정, 투수계수 및 LUGEON치 측정
    암반수압시험 모식도
    암반수압시험 결과
    양수시험
    • 시추공 내 채수상시험을 통한 수위하강을 측정하여 대상 지층의 수리특성을 규명, 지반의 투수계수 산정
    양수시험 모식도
    양수시험 결과
    지하수 유향유속시험
    • 카메라 센서가 수중에 부유하고 있는 콜로이드 입자의 움직임을 촬영하여 지하수 유향. 유속을 측정
    유향유속시험 모식도
    유향유속시험 결과
    순간충격시험
    • 시험공에 순간적인 수위변화를 유발하고 그 회복 양상을 관측하여 수리상수를 산출하는 시험방법으로써, 단일 시험공에서의 장비와 시험방법을 통해 자료를 획득
    순간충격시험 모식도
    순간충격시험 결과

브라우저 최상단으로 이동합니다